Analog Devices / Maxim Integrated DS28E83 DeepCover 1-Wire Authenticator
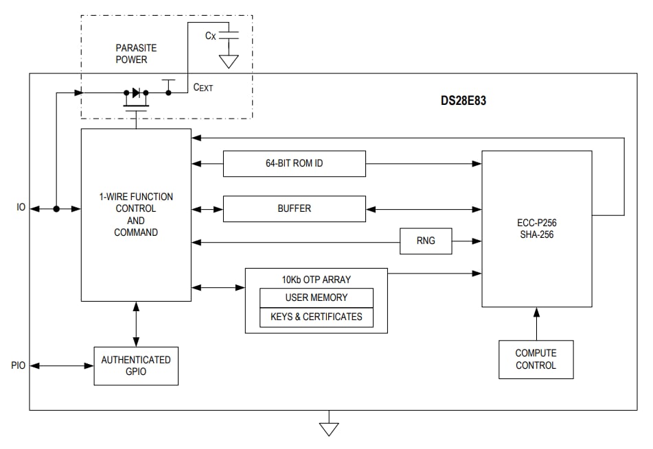
Analog Devices Inc. DS28E83 DeepCover 1-Wire Authenticator is a radiation-resistant secure authenticator that provides a core set of cryptographic tools. These tools are derived from integrated asymmetric (ECC-P256) and symmetric (SHA-256) security functions. ADI DS28E83 integrates a FIPS-compatible true random number generator (TRNG), 10Kb of secured OTP, one configurable GPIO, and a unique 64-bit ROM identification number (ROM ID). The ECC public/private key capabilities operate from the NIST-defined P-256 curve and include FIPS 186-compliant ECDSA signature generation and verification to support a bidirectional asymmetric key authentication model. The SHA-256 secret key capabilities comply with FIPS 180 and are flexibly used in conjunction with ECDSA operations or independently for multiple HMAC functions.Features
- High radiation resistance allows users programmable manufacturing or calibration data before medical sterilization
- Resistant up to 75kGy (kiloGray) of radiation
- One Time Programmable (OTP) 10kb of user data, keys, and certificates
- ECC-P256 compute engine
- FIPS 186 ECDSA P256 signature and verification
- ECDH key exchange for session key establishment
- ECDSA authenticated R/W of configurable memory
- SHA-256 compute engine
- FIPS 180 MAC for secure download/boot
- FIPS 198 HMAC for bidirectional authentication and optional GPIO control
- SHA-256 OTP (One-Time Pad) encrypted R/W of configurable memory through ECDH established key
- ±8kV HBM ESD protection of 1-wire IO pin
- 6-pin, 3x3mm TDFN
- One GPIO pin with optional authentication control
- Open-drain, 4mA/0.4V
- Optional SHA-256 or ECDSA authenticated on/off and state read
- Optional ECDSA certificate to set on/off after multiblock hash for secure download
- TRNG with NIST SP 800-90B compliant entropy source with function to read out
- Optional chip-generated Pr/Pu key pairs for ECC operations or secrets for SHA256 functions
- Unique and unalterable factory programmed 64-bit identification number (ROM ID)
- Optional input data component to crypto and key operations
- Advanced 1-wire protocol minimizes interface to just single contact
- 3.3V ±10%, 0°C to +50°C operating range
Applications
- Medical consumables secure authentication
- Medical tools/accessories identification and calibration
- Accessory and peripheral secure authentication
- Secure storage of cryptographic keys for host controllers
- Secure boot or download of firmware and/or system parameters
Block Diagram
Yayınlandı: 2018-06-21
| Güncellenmiş: 2023-04-11
