Texas Instruments TMP709/TMP709-Q1 Trip Point Temperature Switch
Texas Instruments TMP709/TMP709-Q1 Trip Point Temperature Switch is a fully-integrated, resistor-programmable temperature switch with a temperature threshold set by just one external resistor within the entire operating range. The TMP709/TMP709-Q1 provides an open-drain, active-low output and has a 2.7V to 5.5V supply voltage range. The temperature threshold accuracy is typically ±0.5°C with a maximum of ±3 °C (60°C to 100°C). The quiescent current consumption is typically 40µA. Hysteresis is pin-selectable to 2°C or 10°C. The Texas Instruments TMP709-Q1 devices are AEC-Q100 qualified for automotive applications.Features
- Threshold accuracy:
- ±0.5°C typical
- ±3°C maximum (60°C to 100°C)
- Temperature threshold set by 1% external resistor
- 40µA typical low quiescent current
- Open-drain, active-low output stage
- Pin-selectable 2°C or 10°C hysteresis
- Reset operation specified at VCC = 0.8V
- 2.7V to 5.5V supply range
- 5-pin SOT-23 package
Applications
- Computers (laptops and desktops)
- Servers
- Industrial and medical equipment
- Storage area networks
- Automotive
Datasheets
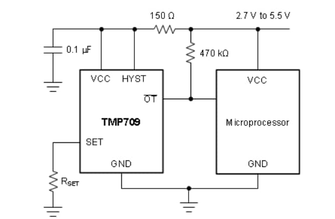
Functional Block Diagram
Yayınlandı: 2017-08-01
| Güncellenmiş: 2025-03-06
