Texas Instruments TPS65653-Q1 Dual High-Current 3A Buck Converters
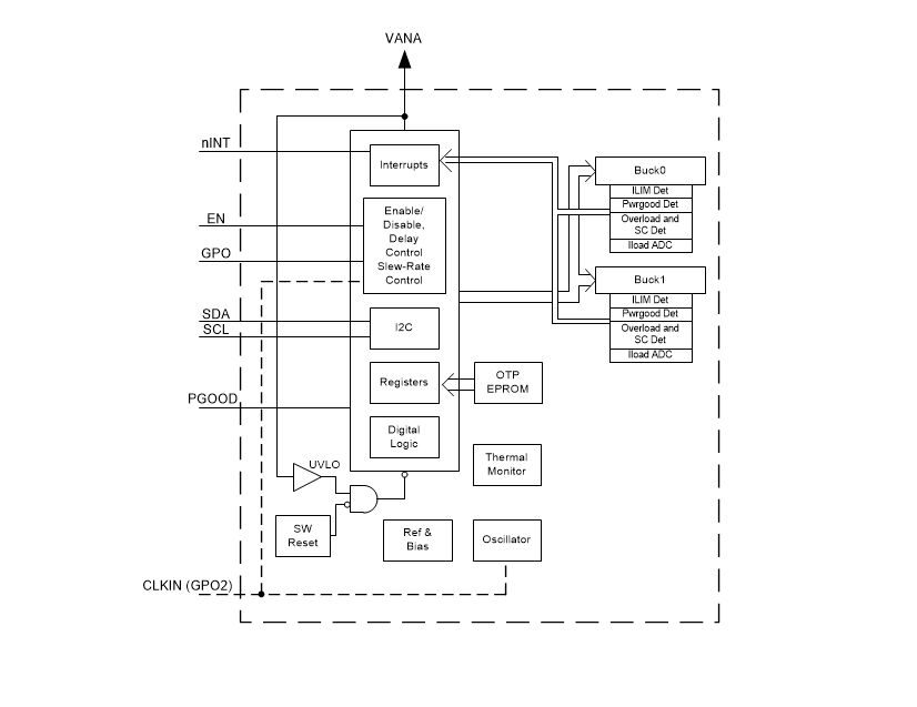
Texas Instruments TPS65653-Q1 Dual High-Current 3A Buck Converters provide a tight power specification for noise-sensitive applications. The converters feature two step-down DC/DC converters and general-purpose digital-output signals and are controlled by an I2C-compatible serial interface and an enable signal. The automatic PWM/PFM (AUTO mode) operation achieves high efficiency over a wide output-current range, and output voltage accuracy is improved by the remote voltage sensing compensating the IR drop between the regulator output and the point-of-load (PoL). The switching clock can also be forced to PWM mode and synchronized to an external clock to minimize the disturbances. The Texas Instruments TPS65653-Q1 series supports programmable start-up and shutdown delays and sequences, including GPO signals synchronized to the enable signal. The devices control the output slew rate to minimize output voltage overshoot and the in-rush current during start-up and voltage change.Features
- AEC-Q100 qualified with the following results
- Device temperature grade 1 (–40°C to +125°C ambient operating temperature)
- 2.8V to 5.5V input voltage
- Two high-efficiency step-down DC/DC converters
- 1V to 3.36V output voltage
- Maximum output current 3A
- Programmable output-voltage slew rate from 0.5mV/µs to 10mV/µs
- 4MHz Switching frequency
- Spread-spectrum mode and phase interleaving for EMI reduction
- Configurable general-purpose output signals (GPO, GPO2)
- I2C-compatible interface supporting standard (100kHz), fast (400kHz), fast+ (1MHz), and high-speed (3.4MHz) modes
- Interrupt function with programmable masking
- Programmable power-good signal (PGOOD)
- The external clock input to synchronize switching
- Output short-circuit and overload protection
- Overtemperature warning and protection
- Overvoltage protection (OVP) and undervoltage lockout (UVLO)
- 28-pin, 5mm x 5mm VQFN package with wettable flanks
Applications
- Radar system ECUs
- Automotive head unit and clusters
- Automotive camera modules
- Surround-view system ECUs
- Automotive displays
Block Diagram
Yayınlandı: 2019-05-21
| Güncellenmiş: 2025-03-06
